Technical Drawing/Drafting

Created by cmalco on 12 March, 2018

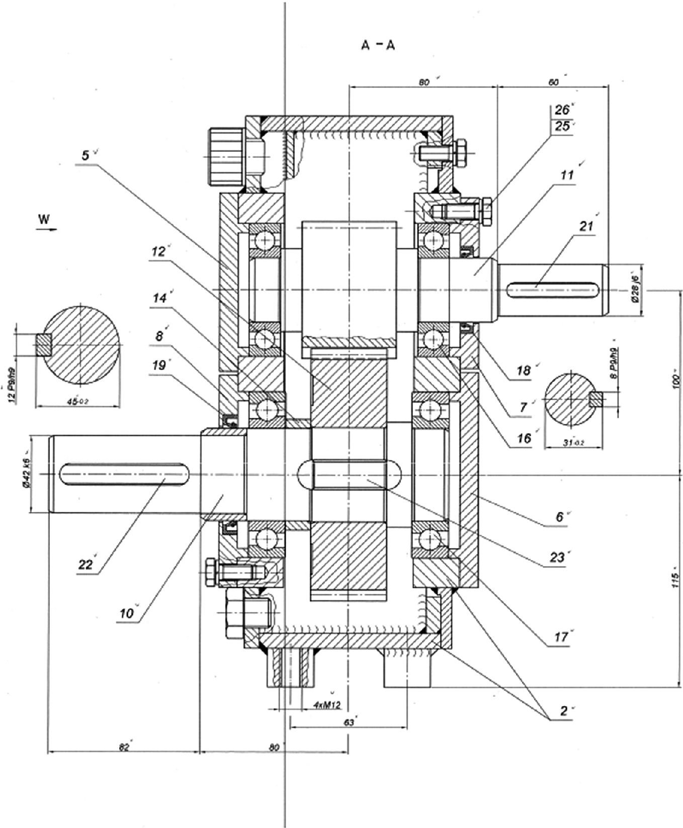
make drawing of a gearbox

hey all
can someone help me with making a drawing of a gearbox in Solidworks?
I wanna make a cross-section of a gear box. but I don't want to cross shafts. how can I do it?
like attached file.

1 Answer

please can someone halp me with my univerity project
i need a gearbox with 7 speed

Please do not open any links and do not make calls (including WhatsApp) to any numbers from messages sent by accounts such as Grabcad Verification, etc. - these are phishing ones. Please do not make any payments. Our security team is currently working on a solution.